japanische Typ 98 Stielgranate Stielhandgranate, japanese type 98 stick hand grenade stickgrenade handgrenade
Handgranaten
Typ 98 Stiel-Handgranate:
Kujuhachi shiki shurudan:

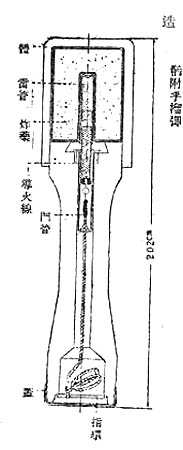
1938 wurde nach deutschem Vorbild eine Stielgranate geschaffen. Sie bestand aus einem Holzgriff mit einer mittigen Bohrung in Längsrichtung und einem Granatkörper aus 0,8 mm starkem Gussstahl. In diesen Körper war eine Sprengladung aus TNT eingepresst. Der Granatkörper war mit drei Schrauben am Holzgriff befestigt. Zum Holz hin war die Sprengladung durch eine Schicht Wachs und einer Deckschicht aus Teer abgedichtet. Eine verzinnte Blechschraubkappe verschloss den hohlen Griff.
Vor dem Einsatz musste die Schraubkappe abgeschraubt werden. Danach fiel der Zugring und ein Stück der Zugkordel des Abreißzünders aus dem Handgriff. Mit Herausziehen des Zündstifts wurde eine Verzögerungsladung mit einer Brenndauer von 4,5 Sekunden gezündet. Durch die relativ dicke Wand des Granatkörpers war die Splitterwirkung relativ groß. Amerikanische Vergleichstests zeigten eine stärkere Splitterwirkung als bei den deutschen Stielgranaten. Im Laufe des Krieges wurde das TNT durch Pikrinsäure ersetzt, was die Sprengwirkung erhöhte, aber auch eine Schutzlackierung des Granatkörpers nötig machte.

Daten:
|
Durchmesser: |
47,5 mm |
| Höhe ohne Zünder: | 204 mm |
|
Gewicht mit Zünder: |
540 g |
|
Gewicht Sprengladung: |
85 g |
|
Sprengladungstyp: |
TNT, später Pikrinsäure |
|
Zünder: |
Abreißzünder mit Verzögerung |
|
Zündverzögerung: |
4,5 s |